Follow along with the video below to see how to install our site as a web app on your home screen.
Notera: This feature may not be available in some browsers.
Blir du ny medlem nu i Husbilsklubben.se betalar du ingen anmälningsavgift utan enbart årsavgift 100 kr.
Du sparar 150 kr på detta och erbjudandet gäller tills vidare.
Medlemskapet gäller nu även för kalenderåret 2026.
Mer information finns här: Hur Registrerar jag mig.
Du slipper också en massa störande reklam eftersom vi är en HELT reklamfri sida.
OBS! På förekommen anledning: Om du inte loggat in och är HBK-Medlem och inte betalt årsavgiften så kan dina rabatter och förlängd reseförsäkring upphöra att gälla.
2200 har felmonterad avfrostnings givare. Det är därför den slår av och på hela tiden.Slängde ut vår nästan nya 2200, den startade/stoppade den hela tiden om det var svalare än 27 grader ute (var det varmare fungerade den/kylde bra) men den förde ett ”väldigt” liv. Har nu bytt till 3000 som ska vara väldigt mycket tystare o det ska vi sätta på prov i Kroatien i sommar.
Absolut, verkar vara så. Läste mycket om det förra sommaren när jag höll på att få spelet på ACn. Dometic måste ju rimligtvis veta om detta och det konstigt kan man tycka att dom inte åtgärdar detta, vore väl en enkel sak för dom att meddela ÅF och be dom fixa problemet ? Dock så återstår att den är ganska högljud (enligt vårt tycke) så vi valde att byta ut den då vi räknar att ha kvar denna husbilen i några år till.2200 har felmonterad avfrostnings givare. Det är därför den slår av och på hela tiden.
Har flyttat den givaren på ett tiotal enheter med gott resultat.
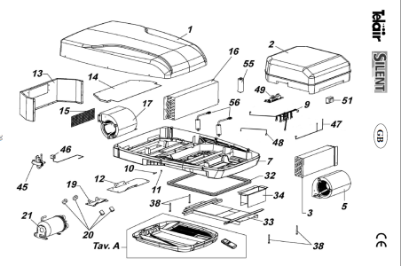
Har ingen, och inte monterat ner någon heller. Men hade bruksanvisningen nedsparad efter att funderat på att köpa en husbil, där en sådan var monterad. Tittar man på den bilden, ser den ut att vara skruvat underifrån, på utsidan med 6 skruvar. Så kanske så enkelt att man bara tar bort de 6 skruvarna och kan lyfta kåpan sen.Vi har en Telair ... hur sitter den fast i själva maskineriet?

Hej.Har ingen, och inte monterat ner någon heller. Men hade bruksanvisningen nedsparad efter att funderat på att köpa en husbil, där en sådan var monterad. Tittar man på den bilden, ser den ut att vara skruvat underifrån, på utsidan med 6 skruvar. Så kanske så enkelt att man bara tar bort de 6 skruvarna och kan lyfta kåpan sen.
Visa bilaga 228275
Kanske man skulle det när man ändå monterar ner den.Har du funderat över att måla kåpan på plats, på taket. En god rengöring och en riktigt god maskering. Sedan jobba med en god färg på spraytub en vindstilla dag. En bra färg på spraytub håller 5-6 år! Det hade jag övervägt. Har bytt takAC vid ett tillfälle för några år sedan. Då var arbetet värderat till 7 000:-. Bara ur och i! Men du är kanske som min fru..., hon hade insisterat på att jag skulle lacka insidan också!![]()
Kanske man skulle det när man ändå monterar ner den.